修繕費と資本的支出の違い|税務署に否認されないための判断基準とは?
目次
- 修繕費と資本的支出の違いとは?
- 判断に迷ったらフローチャート
- 税務調査で指摘されやすい支出
- ●台所からシステムキッチンへの変更
- ●外壁塗装工事
- 大家さんが出来る事前対策
- ● 見積書・請求書・現場写真を保管する
- ● 見積書・請求書の項目を細分化
- ● 1支出あたり20万円未満に抑える
不動産賃貸業を営んでいると、建物や設備の修理・交換は日常的に発生します。そのたびに、根拠なく「修繕費」として経費処理しているオーナーの方も多いのではないでしょうか。
しかし、本当に「修繕費」として経費処理して良いのでしょうか?
税務調査の現場では、「修繕費」だと思って計上していた費用が、実は「資本的支出」と判断されて否認されるというケースがあります。
その結果、過年度分の修正申告や追徴課税が発生することも…。
今回は、大家さん向けに
「修繕費と資本的支出の違い」や「判断基準」、 「税務調査で指摘されやすい支出」と「事前対策」まで、わかりやすく解説します。
しかし、本当に「修繕費」として経費処理して良いのでしょうか?
税務調査の現場では、「修繕費」だと思って計上していた費用が、実は「資本的支出」と判断されて否認されるというケースがあります。
その結果、過年度分の修正申告や追徴課税が発生することも…。
今回は、大家さん向けに
「修繕費と資本的支出の違い」や「判断基準」、 「税務調査で指摘されやすい支出」と「事前対策」まで、わかりやすく解説します。
修繕費と資本的支出の違いとは?
修繕費とは?「修繕費」は、建物や設備の原状回復や維持管理を目的とした支出です。損金(経費)として支出した年に全額経費化できます。
例:
外壁の塗り替え(原状回復目的)
給排水管の一部補修
エアコンの修理費用
資本的支出とは?
一方で、「資本的支出」は建物や設備の価値を向上・増加させるための支出です。
こちらは固定資産として資産計上し、減価償却で数年にわたり経費化する必要があります。
例:
和室から洋室へのフルリフォーム
建物の避難階段の取り付け
例:
外壁の塗り替え(原状回復目的)
給排水管の一部補修
エアコンの修理費用
資本的支出とは?
一方で、「資本的支出」は建物や設備の価値を向上・増加させるための支出です。
こちらは固定資産として資産計上し、減価償却で数年にわたり経費化する必要があります。
例:
和室から洋室へのフルリフォーム
建物の避難階段の取り付け
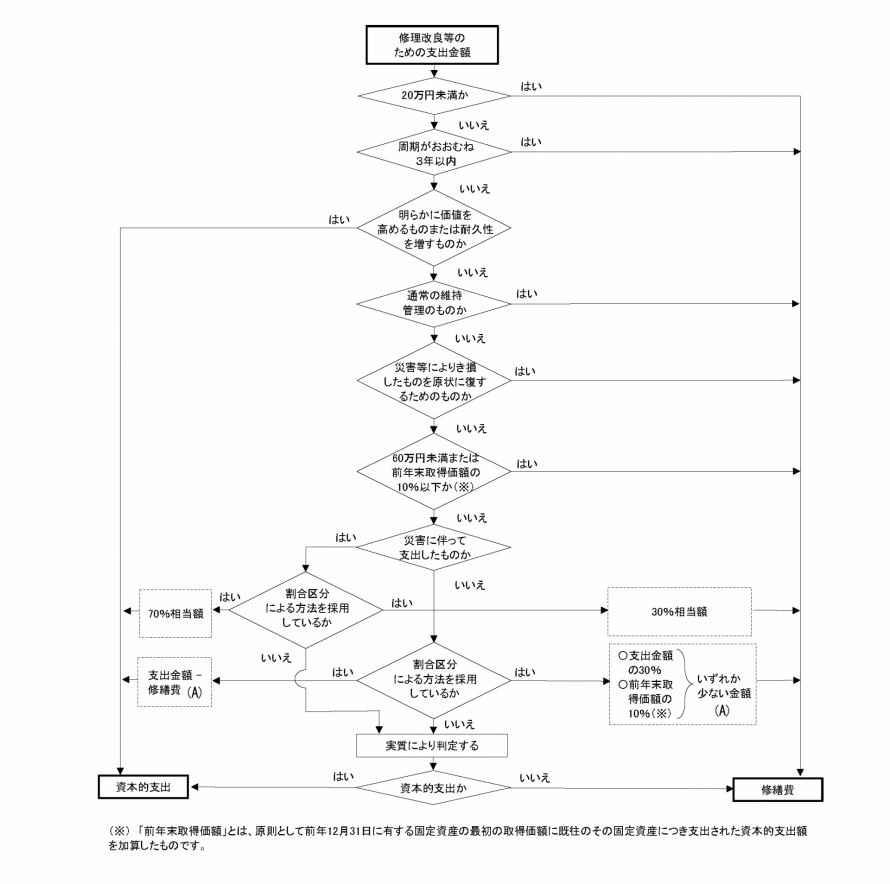
判断に迷ったらフローチャート
現状回復と言えば現状回復だし、資産価値増加と言えば資産価値増加だし、といったように判断に迷う支出もよくあります。
「この支出、どっちだろう?」と悩んだら、以下のフローチャートを確認します。
(画像 国税庁ホームページ引用)
(画像 国税庁ホームページ引用)
①20万円未満か?
「1単位あたり20万円未満」であれば、修繕費として処理しても問題ありません。
②周期がおおむね3年以内か?
定期的に行う修繕については、修繕費として処理しても問題ありません。
③明らかに価値を高めるものまたは耐久性を増すものか?
はい⇒資本的支出
いいえ⇒④の質問へ
④通常の維持管理のものか?
はい⇒修繕費
いいえ⇒⑤以降の質問へ
実務的には、ほとんどのケースで③④の質問までで「修繕費」か「資本的支出」の判断を行うことになります。
「1単位あたり20万円未満」であれば、修繕費として処理しても問題ありません。
②周期がおおむね3年以内か?
定期的に行う修繕については、修繕費として処理しても問題ありません。
③明らかに価値を高めるものまたは耐久性を増すものか?
はい⇒資本的支出
いいえ⇒④の質問へ
④通常の維持管理のものか?
はい⇒修繕費
いいえ⇒⑤以降の質問へ
実務的には、ほとんどのケースで③④の質問までで「修繕費」か「資本的支出」の判断を行うことになります。
税務調査で指摘されやすい支出
築古物件の既存の台所設備を全面的に取り壊し、システムキッチンを設置したケースは、資本的支出に該当する可能性が高いです。台所設備の一部を補修・交換ということであれば、修繕費に該当すると思いますが、既存の台所設備を取り壊し後に新たに設置した場合は資本的支出と考えるのが妥当です。
同じ考え方で、和室から洋室へのフルリフォームも資本的支出と考えるのが妥当です。和室から洋室へフルリフォームすることで家賃アップや入居が決まりやすくなる、つまり、価値が高まっていると判断されます。
これらは
上記フローチャート③明らかに価値を高めるものまたは耐久性を増すものか?に対する回答が「はい」のため、資本的支出となります。
同じ考え方で、和室から洋室へのフルリフォームも資本的支出と考えるのが妥当です。和室から洋室へフルリフォームすることで家賃アップや入居が決まりやすくなる、つまり、価値が高まっていると判断されます。
これらは
上記フローチャート③明らかに価値を高めるものまたは耐久性を増すものか?に対する回答が「はい」のため、資本的支出となります。
賃貸経営で発生する比較的高額な支出として、外壁塗装工事があります。
外壁塗装工事については、これまでの税務調査の経験上、全額「修繕費」で問題ないと思います。もちろん、その外壁塗装工事が単に雨漏りを防ぐ目的や外壁の痛みを補修する範疇におさまっていることは前提になります。
外壁塗装工事については、これまでの税務調査の経験上、全額「修繕費」で問題ないと思います。もちろん、その外壁塗装工事が単に雨漏りを防ぐ目的や外壁の痛みを補修する範疇におさまっていることは前提になります。
大家さんが出来る事前対策
工事の内訳を明記した見積書や、作業内容の写真を保管しておきましょう。「原状回復目的」であることを客観的に示せる資料があると、修繕費処理の判断根拠になります。特に工事前後の現場写真は税務調査の現場で役立つことが多いです。
内容によっては「一部は修繕費」「一部は資本的支出」と分けることもできます。
例えば、請求書の項目が「給排水設備一式」だけだと全体が資本的支出と判断されてしまう可能性も出てくるので、部分補修や部品交換が含まれている場合には、その旨を見積書・請求書に記載してもらう工夫が必要です。
例えば、請求書の項目が「給排水設備一式」だけだと全体が資本的支出と判断されてしまう可能性も出てくるので、部分補修や部品交換が含まれている場合には、その旨を見積書・請求書に記載してもらう工夫が必要です。
20万円未満であれば、基本的には修繕費になりますので、コスト意識をもって工事を発注する。























